当前位置: 首页 >>
政策法规 国家法律 标准规范 市安委会文件 市局文件 协会文件

最新!2019版《石油化工可燃气体和有毒气体检测报警设计标准》发布

最新!2019版《石油化工可燃气体和有毒气体检测报警设计标准》发布

近日,

住房和城乡建设部网站发布了《石油化工可燃气体和有毒气体检测报警设计标准》,

自2020年1月1日起实施。

原国家标准《石油化工可燃气体和有毒气体检测报警设计规范》(GB50493—2009)同时废止。




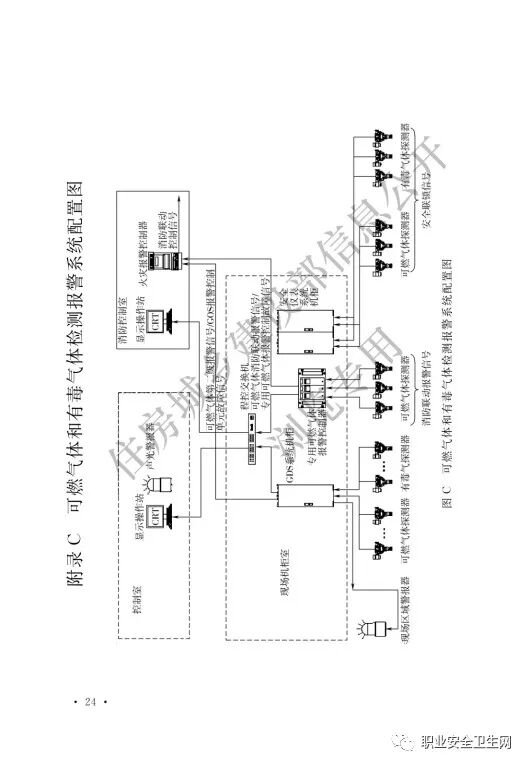
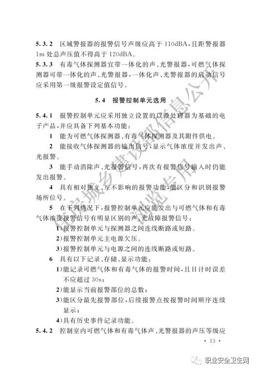
 附:《石油化工可燃气体和有毒气体检测报警设计标准》全文↓↓↓




来源:住房和城乡建设部网站


中国应急管理报 新媒体中心 编辑:崔维维

链接:最新!2019版《石油化工可燃气体和有毒气体检测报警设计标准》发布  https://mp.weixin.qq.com/s?__biz=MjM5Mjg5NzQwMQ==&mid=2650366608&idx=2&sn=a64734081cc430cc32844ba64b6c09a6&chksm=be92828689e50b90673ab2607af72c0150d4e9a00ca92cfb07c21798b4b6c65d41cbe7bdb3d6&mpshare=1&scene=23&srcid=&sharer_sharetime=1573000475820&sharer_shareid=d9fdcc60a46951fed6d7a0bbdd004814#rd


Copyright © 马鞍山市安全生产协会 All Rights Reserved. 皖ICP备2025104696号-1
最佳使用效果1024*768以上分辨率,建议使用微软公司IE6.0及以上  您是第 27005 位访客 今日访问量:71 当前在线人数:4